Погружные насосы для канализации SW
111.00 Br
Характеристики погружных фекальных насосов SW
— Легкая установка с помощью гибких труб, стандартных труб и быстроразъемных соединений.
— Вал из нержавеющей стали
Рабочие условия
-Плотность воды: 1x 103 кг/м3
-Температура жидкости: 0 — 40 °C
-PH жидкости: 4 — 10
-Максимальная глубина погружения: 5 м
Характеристики двигателей погружных фекальных насосов SW
— Двигатель с медной обмоткой
— Класс изоляции: F
-Класс защиты: IPX8
-Напряжение: 380В/50Гц
— Торцевое уплотнение: Двухстороннее торцевое уплотнение
Категории: Промышленные насосы, Погружные канализационные насосы
Описание
Применение
— Используются в системах канализации.
— В сточных канализациях жилых зданий, многоквартирных домов, зон отдыха и т.д.
— Для перекачивания отработанной воды в коммерческих структурах, промышленных предприятиях, небольших больницах.
— В сточных канализационных системах школ и парков
— Для откачивания сточной воды и нечистот.

| Модель | Мощность двигателя | Скорость | Макс.поток | Макс.высота подъема | Спускное отверстие | Фитинг.соед-е | Макс. диаметр | Вес брутто | Размер упаковки | |
| кВт | Л.с. | Об/мин | м³/ч | м | мм (дюймов) | мм | кг | мм | ||
| 150SW150-10-7.5L/4 | 7.5 | 10 | 1450 | 300 | 16 | 150(6") | 150-150 | 75 | 160 | 1154x549x532 |
| 150SW110-10-5.5/4 | 5.5 | 7.5 | 1450 | 260 | 12 | 150(6") | 150-150 | 75 | 155 | 1154x549x532 |
| Модель | Мощность двигателя | Скорость | Макс.поток | Макс.высота подъема | Спускное отверстие | Фитинг.соед-е | Макс. диаметр | Вес брутто | Размер упаковки | |
| кВт | Л.с. | Об/мин | м³/ч | м | мм (дюймов) | мм | кг | мм | ||
| 150SW100-10-7.5L | 7.5 | 10 | 2900 | 150 | 20 | 150(6") | 150-150 | 35 | 120 | 1059x414x469 |
| Модель | Мощность двигателя | Скорость | Макс.поток | Макс.высота подъема | Спускное отверстие | Фитинг.соед-е | Макс. диаметр | Вес брутто | Размер упаковки | |
| кВт | Л.с. | Об/мин | м³/ч | м | мм (дюймов) | мм | кг | мм | ||
| 100SW65-22-7.5L | 7.5 | 10 | 2900 | 108 | 31 | 100(4") | 100-100 | 35 | 118 | 1059x414x469 |
| 100SW45-22-5.5L | 5.5 | 7.5 | 2900 | 100 | 28 | 100(4") | 100-100 | 30 | 93 | 954x404x437 |
| Модель | Мощность двигателя | Скорость | Макс.поток | Макс.высота подъема | Спускное отверстие | Фитинг.соед-е | Макс. диаметр | Вес брутто | Размер упаковки | |
| кВт | Л.с. | Об/мин | м³/ч | м | мм (дюймов) | мм | кг | мм | ||
| 80SW45-22-7.5L/4 | 7.5 | 10 | 1450 | 80 | 26 | 80(3") | 80-80 | 30 | 150 | 1127x550x450 |
| Модель | Мощность двигателя | Скорость | Макс.поток | Макс.высота подъема | Спускное отверстие | Фитинг. Соед-е | Макс. диаметр | Вес брутто | Размер упаковки | |
| кВт | Л.с. | Об/мин | м³/ч | м | мм (дюймов) | мм | кг | мм | ||
| 80SW30-36-7.5L | 7.5 | 10 | 2900 | 75 | 41 | 80(3") | 80-80 | 30 | 118 | 1059x414x469 |
| 80SW30-30-5.5L | 5.5 | 7.5 | 2900 | 70 | 35 | 80(3") | 80-80 | 30 | 93 | 954x404x437 |
| Модель | Мощность двигателя | Скорость | Макс.поток | Макс.высота подъема | Спускное отверстие | Фитинг.соед-е | Макс. диаметр | Вес брутто | Размер упаковки | |
| кВт | Л.с. | Об/мин | м³/ч | м | мм (дюймов) | мм | кг | мм | ||
| 50SW20-45-7.5L | 7.5 | 10 | 2900 | 45 | 50 | 50(2") | 50-50 | 20 | 120 | 1032x430x360 |

| Модель | ∅ D | ∅ A1 | ∅ B1 | ∅ C1 | N-∅d1 | h | W1 | W2 | H3 | K | N | O | P | Q | L | M | D2 |
| 150SW150-10-7.5L/4 | 150 | 150 | 225 | 265 | 8- ∅18 | 465 | 756 | 330 | 910 | 230 | 770 | 195 | 217 | 170 | 300 | 500 | 387 |
| 150SW110-10-5.5/4 | 150 | 150 | 225 | 265 | 8- ∅18 | 465 | 756 | 330 | 910 | 230 | 770 | 195 | 217 | 170 | 300 | 500 | 388 |
| 150SW100-10-7.5L | 150 | 150 | 225 | 265 | 8- ∅18 | 379 | 660 | 241 | 811 | 230 | 640 | 145 | 162 | 155 | 210 | 410 | 317 |
| 100SW65-22-7.5L | 100 | 100 | 170 | 210 | 4- ∅18 | 315 | 639 | 220 | 790 | 150 | 530 | 155 | 155 | 155 | 200 | 340 | 310 |
| 100SW45-22-5.5L | 100 | 100 | 170 | 210 | 4- ∅18 | 315 | 609 | 220 | 744 | 150 | 530 | 155 | 155 | 155 | 200 | 340 | 310 |
| 100SW100-15-7.5L/4 | 100 | 100 | 170 | 210 | 4- ∅18 | 390 | 722 | 295 | 873 | 150 | 655 | 187 | 200 | 175 | 280 | 420 | 373 |
| 100SW65-15-5.5L/4 | 100 | 100 | 170 | 210 | 4- ∅18 | 390 | 722 | 295 | 873 | 150 | 655 | 187 | 200 | 175 | 280 | 420 | 373 |
| 80SW30-36-7.5L | 80 | 80 | 150 | 190 | 4- ∅18 | 332 | 640 | 215 | 785 | 140 | 520 | 143 | 155 | 155 | 200 | 335 | 310 |
| 80SW30-30-5.5L | 80 | 80 | 150 | 190 | 4- ∅18 | 332 | 607 | 215 | 735 | 140 | 515 | 136 | 155 | 155 | 200 | 335 | 310 |
| 80SW45-22-7.5L/4 | 80 | 80 | 150 | 190 | 4- ∅18 | 390 | 679 | 285 | 880 | 155 | 615 | 173 | 179 | 260 | 395 | 349 | 390 |
| 50SW20-45-7.5L | 50 | 50 | 110 | 140 | 4- ∅14 | 284 | 626 | 221 | 777 | 105 | 484 | 133 | 137.5 | 200 | 320 | 272 | 284 |

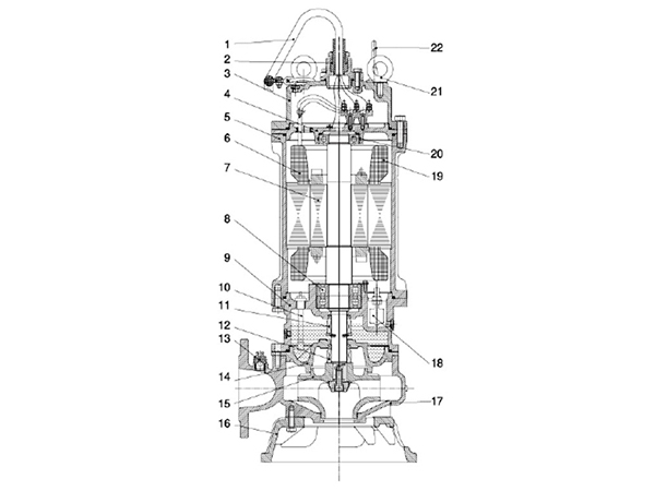
| No | Деталь | Материал |
| 1 | Кабель | |
| 2 | Кабельный держатель | HT200 |
| 3 | Верхняя крышка | HT200 |
| 4 | Гнездо верхнего вкладыша подшипника | HT200 |
| 5 | Рама | HT200 |
| 6 | Статор | |
| 7 | Ротор | |
| 8 | Подшипник | |
| 9 | Резервуар для масла | HT200 |
| 10 | *Датчик обнаружения | |
| 11 | Торцевое уплотнение | Силикон/Карбон |
| 12 | Торцевое уплотнение | Силикон/Карбон |
| 13 | Выпускной клапан | |
| 14 | Кожух насоса | HT200 |
| 15 | Импеллер | HT200 |
| 16 | Плита основания | HT200 |
| 17 | Корпус насоса | HT200 |
| 18 | *Поплавковое реле | |
| 19 | *Тепловой датчик | |
| 20 | Подшипник | |
| 21 | Фланец | 06Cr19Ni10 |
| 22 | *Сигнальный кабель |
Примечание: Дополнения, такие как датчик обнаружения, поплавковое реле, тепловой датчик и сигнальный кабель доступны по запросу.
Отзывы (0)
Будьте первым, кто оставил отзыв на “Погружные насосы для канализации SW” Отменить ответ
Похожие товары
Вертикальные насосы типа инлайн LPP
5.00 Br
Насос
Поток: до 760 м3/ч
Напор: до 85 м
Диапазон мощности: 0.37 – 132 кВт
Температура жидкости: 0°C – +90°C
Максимальная температура окружающей среды: + 40°C
Максимальное рабочее давление: 16 бар
Высота над уровнем моря: до 1000м
Двигатель
Закрытая конструкция
Класс изоляции: F
Степень защиты: IP 55
Двигатель IE 2 по умолчанию. Двигатель IE 3 по запросу.
Температура окружающей среды
Максимальная температура окружающей среды: +40°C. Для использования насоса при температуре выше 40°C либо в случае эксплуатации на высоте выше 1000 м над уровнем моря, требуется более мощный двигатель. В связи с низкой плотностью воздуха и плохой вентиляцией мощность P2 двигателя уменьшится. Смотри рисунок ниже. Например, когда насос установлен на высоте более 3500 м над уровнем моря, значение P2 сокращается на 88%. В условиях температуры окружающей среды 70°C, значение P2 сокращается на 78%.
Горизонтальные центробежные насосы из нержавеющей стали ECH-F
2.00 Br
Характеристики насоса
- Вал из стали AISI 304
-Макс. температура жидкости: +60℃
-Высота: до 1000м
-Макс. высота всасывания: 8м
-Макс. давление всасывание: ограничено максимальным рабочим давлением
-Max. operation pressure: 10 bar
-PH величина жидкости: 6.5-8.5
Характеристики двигателяIE2 motor
-Двигатель с медной обмоткой
-Однофазный двигатель со встроенным тепловым предохранителем
-Класс изоляции: F
-Степень защиты: IPX4
-Макс. температура окружающей среды: +40℃
Горизонтальные центробежные насосы из нержавеющей стали для холодной воды ECH-D
2.00 Br
Насос
- Вал из стали AISI 304.
- Максимальная температура жидкости: +40℃.
- Высота: до 1000м.
- Максимальная высота всасывания: 8м.
- Максимальное давление на входе: ограничено максимальным рабочим давлением.
- Максимальное рабочее давление: 8 бар
-Уровень PH жидкости: 6.5-8.5
Двигатель
- Двигатель с медной обмоткой
- Однофазный двигатель со встроенным тепловым предохранителем.
- Класс изоляции: F.
- Степень защиты: IP55.
- Максимальная температура окружающей среды: +40℃.
Моноблочные центробежные насосы XST
4.00 Br
Рабочие условия для стандартных центробежных насосов XST:
- Производительность: до 220 м3/ч
- Напор: до 95 м
- Температура жидкости: - 10 to 85℃
- Максимальное рабочее давление: 12 бар (PN12)
- Рабочее колесо: AISI 304/ HT 200
- Торцевое уплотнение в соответствии с DIN 24960
- Смазывание внутренней рециркулируемой жидкостью
- Контрфланец доступен по запросу
Характеристики двигателя стандартных центробежных насосов XST:
- Закрытая конструкция, наружная вентиляция
- Класс изоляции: F
- Степень защиты: IP 54
- производительность согласно стандартам CEI 2-3 (IEC 34.1)
- Максимальная температура окружающей среды: +40℃
- Защита от перегрузки
Конструктивные детали
Одноступенчатый центробежный насос характеризуется продольным всасыванием и радиальным нагнетанием
Диаметр входного и выходного отверстий соответствует стандартам EN 733(кроме DNI 24255)и UNI 7467
Фланцы соответствуют стандартам UNI 2236 и DIN 2532
Заднее входное отверстие (рабочее колесо и двигатель могут быть вынуты без отсоединения насоса от труб)
Погружной канализационный насос из нержавеющей стали серии XSP 2HP
222.00 Br
Насос
- Макс. глубина погружения: 5м
- Макс. температура жидкости: +40℃
- Значение PH жидкости: 4-10
- Кинематическая вязкость жидкости: 7x107~23x104 м³/с
- Макс. плотность жидкости: 1.2x10³кг/м³
Двигатель
- Медная перемотка
- Встроенный тепловой протектор
- Сварной вал из нержавеющей стали
-Класс изоляции: B
-Степень защиты: IP68
Погружные насосы для канализации WQ
111.00 Br
Погружные насосы для канализации из нержавеющей стали XSP 0.6л.с. 1 л.с.
222.00 Br
Насос
- Макс. глубина погружения: 5 м.
- Макс. температура перекачиваемой жидкости: +40°C.
- Уровень PH перекачиваемой жидкости: 4-10.
- Кинематическая вязкость: 7x10-7 ~ 23x10-6 м2/с.
- Макс. плотность перекачиваемой жидкости: 1.2x103 кг/м3.
Мотор
- Медная обмотка.
- Встроенное тепловое реле.
- Сварной вал из нержавеющей стали.
- Класс нагревостойкости: B.
- Степень защиты: IP68.
Циркуляционные насосы LRP25
11.00 Br
Характеристики циркуляционных насосов LRP
- Переключатель внешнего течения
- Автоматическое нагнетание давления
- Устойчивый к коррозии чугунный корпус
- импеллер из полифениленоксида, устойчивый к температуре до 150℃
- Вал 99% алюмооксидной керамики
- Температура жидкости: 2 - 95 ℃
Характеристики двигателей циркуляционных насосов LRP
- Класс изоляции: H
- Класс защиты: IP 44
- Подшипник из 99% алюмооксидной керамики
- Медная обмотка

Отзывы
Отзывов пока нет.